|  |   | |
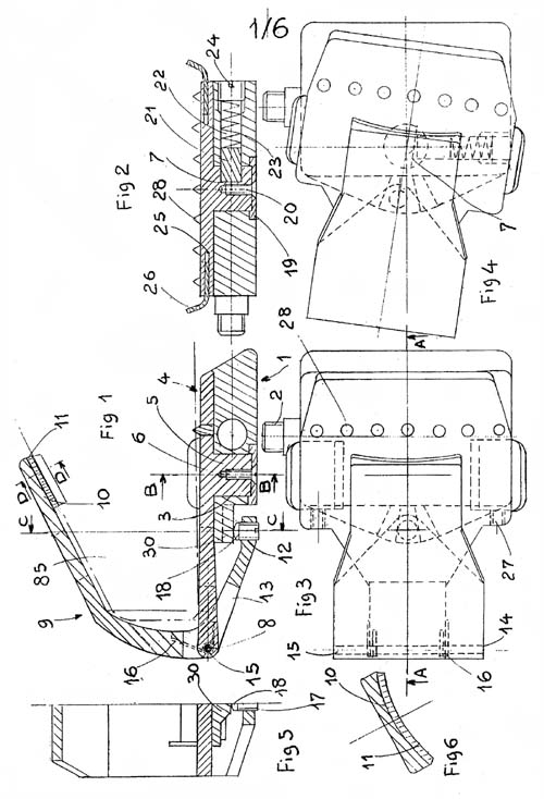
| Accueil Références Revue de Presse Vélo Pédalier à impulsions Fourches à cames Pédale automatique Pédale universelle Para-médical Assistance à la marche Pêche à la ligne Canne à catapulte Flotteur ascendant Jeux Boules aléatoires Pétanque éducative Contact Marie Peyre Le Bourg 58270 - SAINT SULPICE France 03 86 58 68 60 06 22 85 27 58 Mail : Henri Peyre Copyright © Tous droits réservés. Sitecom.biz | domaine : composants cycles.   La pédale est destinée à la fixation et à la libération automatiques d'une chaussure de sport non spécifique. Une bride rigide (61) comportant à sa partie haute un tampon souple, qui prend appui sur le coup de pied de la chaussure, et à sa partie basse une vis de réglage (62) de son ouverture est montée articulée sur une platine mobile (63). Le tourillon (66) de la platine mobile est libre en rotation et en translation à l'intérieur d'une lumière (65) portée par le corps de la pédale (64). Logés dans le corps (64) un ressort (68) pousse un piston (67) dans une came creuse en vé situé à l'arrière de la platine mobile (63) est tenue éloignée du corps (64) quand la chaussure n'est pas sur la pédale. Une plaque d'arrêt (71), est articulée sur la platine mobile (63), son mouvement vers le haut est commandé par un doigt (73) en contact avec une came (74) portée par le corps (64). Pour fixer la chaussure à la pédale engager le pied contre la bride (61) et le pousser sur l'avant. La platine se déplace sur la gauche et la partie saillante (75) est poussée vers le haut. Pour libérer la chaussure tourner le pied à gauche ou à droite.   UNIVERSAL AUTOMATIC PEDAL for CYCLE The pedal is intended for the automatic fastening and the automatic release of a non-specific sport shoe.A rigid strap (61), with a supple buffer in the high part, which rests on the instep shoe, and in the low part a screw for the adjustment of its unlocking, is jointed on a moving plate (63). The pin (66) of the moving plate free in rotation and translation inside a part of the pedal body (64). a spring (68), inside the body (64), pushes a piston (67) in a "V" shaped hollow cam which is at the rear of the moving plate (63). The moving plate (63) is kept away from the body (64) when the shoe is not on the pedal. A stopping sheet (71) is jointed on the moving plate (63), its movement upward is controlled by a finger (73) in contact with a cam (74) supported by the body (64). To fix the shoe to the pedal, insert the foot against the strap (61) and push it forward. The plate moves on the left and the protuberant part (75) is pushed on the front. To unlock the shoe, turn the foot on the left or right. CARACTERISTIQUES et AVANTAGES de la PEDALE UNIVERSELLE AUTOMATIQUE de CYCLE 
 
 
 
 
 
 
 
 
 
 
    Détails du brevet Shéma 1 du brevet Shéma 2 du brevet | |
Ce site traite des sujets suivants : INVENTIONS et BREVETS HENRI PEYRE : PEDALE UNIVERSELLE de VELO, cyclisme.